admin

:: VYHLEDÁVÁNÍ ::

Hlavní strana

:: SORTIMENT ::
KOLA 1.1
HNACÍ NÁPRAVA 2.1
REDUKTOR 2.2
RÁM 3.1
ŘÍDÍCÍ NÁPRAVA 4.1
HYDRAULICKÝ VÁLEC SERVOŘÍZENÍ 4.2
SNÍMAČ KOLA 4.3
PODLAHA SE ŠLAPKOVÝM ÚSTROJÍM 5.1
VEDENÍ OLEJE 6.1
OLEJOVÝ ROZVÁDĚČ 7.1
AGREGÁT S NÁDRŽÍ 8.1
ČELNÍ KRYT 9.1
HYDRAULICKÝ VÁLEC SKLOPNÝ 10.1
ZDVIHACÍ ZAŘÍZENÍ 11.1
ZDVIHACÍ ZAŘÍZENÍ 11.2
HYDRAULICKÝ VÁLEC ZDVIHACÍ 12.1
OCHRANNÁ STŘÍŠKA 13.1
MONTÁŽ 14.1
MONTÁŽ 14.2
MONTÁŽ ELEKTRONIKY 14.3
ZAPOJENÍ VOZÍKU 15.1


Náčrt


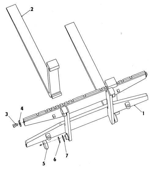
ZDVIHACÍ ZAŘÍZENÍ 11.2
1 Zvedací deska  
V046876338
počet kusů:
1 Zvedací deska  
V046876340
počet kusů:
2 Nosná vidlice  
52 109
80x35x800
počet kusů:
3 Šroub M 16x25  
33 242
ČSN 02 1103.55
6111 032 478
počet kusů:
4 Podložka  
V040090225
počet kusů:
5 Kladka RKS 70  
36 142
počet kusů:
5 Kladka RKS 78.25  
36 390
počet kusů:
6 Podložka 40x50x1  
7941 002 236
ks dle potřeby
počet kusů:
7 Podložka 40x50x0,5  
7941 002 237
ks dle potřeby
počet kusů:

Zasílání INFO
Jméno E-mail -->> Odhlásit <<--

© 2003 Created by Czechproduct Nejlépe prohlédnete v IE 5.0 a vyšší, Optimalizováno pro rozlišení 800x600 a větší.